CQ9传奇电子

行业动态

了解最新公司动态及行业资讯

异位土壤热脱附的净化设备的特点是什么

2019-03-08 01:22:24 282 编辑:admin 来源:本站
    现有的土壤热脱附往往直接采用火焰的方式对土壤热脱附腔中的土源进行强烈 高温加热,这样容易造成土源产生有害物质挥发脱附之外的额外的氧化、分解等化学反应, 造成二次污染,同时现有的土壤热脱附还有加热不均匀,受热慢的弊端。 
土壤热脱附

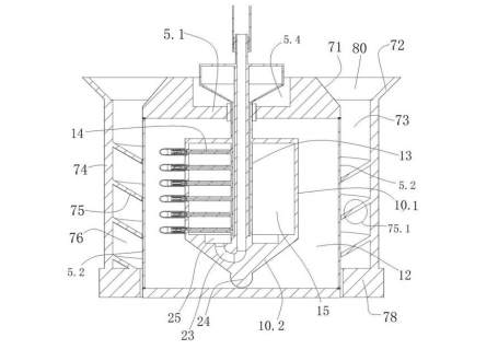
    一种基于异位土壤热脱附的净化设备,包括圆柱状的活动外筒、和固定安装的圆柱状的内炉体;所述活动外筒同轴心活动套于所述内炉体外侧;还包括外筒驱动装置,所述外筒驱动装置可驱动活动外筒沿轴线上下位移和旋转;所述内炉体的圆柱炉壁为导热薄壁结构,所述圆柱炉壁内部为燃烧腔,所述圆柱炉壁外壁与所述活动外筒之间形成环柱状土壤热脱附腔;燃烧腔内的热量通过圆柱炉壁传导至土壤热脱附腔;本发明的活动外筒沿轴线做来回正反间歇性旋转,使螺旋腔中的土源始终处于蓬松翻滚的状态,进而土源均匀受热,螺旋腔中的土源受热后土中的易挥发污染物发生气化产生热脱附效应。

30

装备制造经验

立即免费获取土壤修复方案

为用户提供及时、高效、便捷的服务

在线咨询
CQ9传奇电子环境希望与你携手,共创美好未来...
5