CQ9传奇电子

公司动态

了解最新公司动态及行业资讯

土壤破碎机筛网结构

2017-10-13 01:19:29 337 编辑:admin 来源:本站
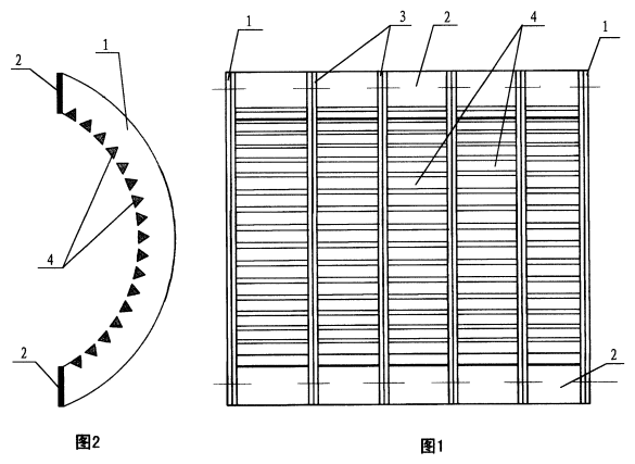
    现有的土壤破碎机筛网一般包括有由一对横向的侧板和一对纵向的连接板构成的框架,在两侧板之间连接有多条纵向的栅条。这种结构的筛网在使用过程中如果有一根栅条损坏就必须将整个框架拆卸下来进行更换,因此其维护操作十分不便。
    本实用新型所要解决的技术问题是,提供一种拆装维护方便、对土壤具有辅助破碎能力的土地壤破碎机筛网。
    本实用新型的土壤破碎机筛网包括有由一对横向的侧板和一对纵向的连接板构成的框架,在两侧板之间横向并排设置有多对栅条固定梁,每一对栅条固定梁之间固定安装有多条相互平行的短栅条,相邻的栅条固定梁之间通过螺栓固定连接,而最外侧的两个栅条固定梁则分别通过螺栓与两个侧板连接。上述短栅条的截面形状可以为三角形,该三角形的底边朝向内侧。
    本实用新型由于将原有结构中固定在两侧板之间的较长的栅条改为固定在多对栅条固定梁之间的短栅条,这样,一旦局部的栅条损坏,只需相应的栅条固定梁拆下进行更换,使维护过程便捷省力;另外,三角形截面的栅条边缘较锐利,不仅使土壤较易通过,并且当土块与之高速碰撞时,还可对土壤进行辅助的破碎,从而提高了设备的破碎能力。
    附图说明
  土壤破碎机筛网结构示意图
    图1是本实用土壤破碎机筛网结构示意图;
    图2是图1的横截面结构示意图。
    具体实施方式,
    如图所示,该土壤破碎机筛网的框架由一对横向的侧板1和一对纵向的连接板2构成,侧板之间有多对栅条固定梁3,每对栅条固定梁之间连接多条短栅条4,各对栅条固定梁之间通过螺栓并排连接固定,再通过螺栓连接到两侧板上。短栅条4的横截面为底边朝向内侧的三角形。

30

装备制造经验

立即免费获取土壤修复方案

为用户提供及时、高效、便捷的服务

在线咨询
CQ9传奇电子环境希望与你携手,共创美好未来...
5